ordinateur de débit avec sortie de température VCA-T
VCA-T
Demande individuelle
Votre configuration spécifique n'est pas répertoriée, vous recherchez une solution spéciale ou vous avez besoin de grandes quantités ? Notre équipe se réjouit de votre demande individuelle.
Veuillez nous écrire.Description fonctionnelle
L’ordinateur de flux VCA-T intelligent a été conçu pour résister aux niveaux extrêmes de température, de vibration et de choc des applications d’essai automobile. Le VCA-T peut être alimenté directement à partir de la batterie du véhicule, même pendant le cycle de démarrage. Il convient pour les mesures de débit où la température ne peut pas être contrôlée et une mesure fiable de haute performance est nécessaire. Grâce à son boîtier compact, il offre une intégration idéale dans le compartiment moteur.
Le VCA-T est doté d’une identification automatique des capteurs. Dès qu’un compteur à turbine de haute précision série VCT est connecté, l’ordinateur de débit VCA-T sera configuré automatiquement et sera prêt à fonctionner immédiatement (branche chaude). Jusqu’à 10 caractéristiques du milieu (viscosité/température) peuvent être stockées pour compenser la viscosité. Le fluide réel peut être sélectionné sans fil en utilisant une balise RFID. La fréquence des turbines et la température du fluide sont mesurées simultanément. L’ordinateur de flux VCA-T traite les données en temps réel. Le compteur à turbine VCT est linéaire, les signaux de sortie à viscosité compensée et analogique sont réglés aux valeurs correspondantes. La mémoire TEDS intégrée fournit des données par défaut pour la configuration automatique des systèmes d’acquisition de données connectés. Cela le rend plus économique et simplifie la configuration de mesure.
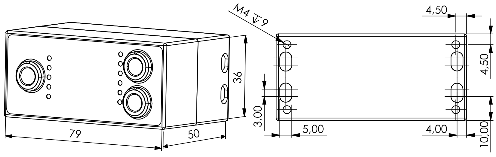
Détails du produit
Dimensions (mm)





